
OPPO проєктує смартфон зі знімною камерою
На сайті Всесвітньої організації інтелектуальної власності (World Intellectual Property Organization, WIPO) з’явився опис вельми цікавого смартфона OPPO. Мова йде про апарат, оснащеному модульною основною камерою.
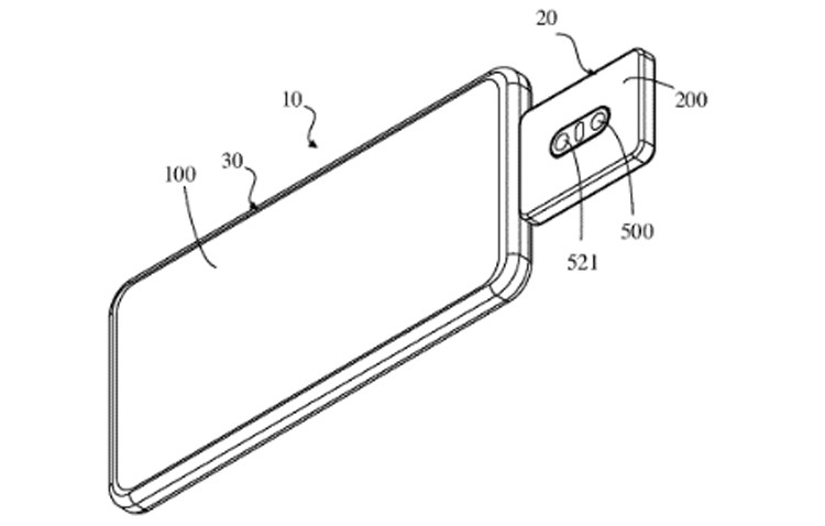
За задумом китайського розробника, користувачі зможуть отримувати блок тильної камери та застосовувати його для селфі-зйомки, а також організації відеотелефонії. Для цього модуль можна буде приєднати до порту USB Type-C та за допомогою спеціального поворотного конектора розташувати під зручним кутом.

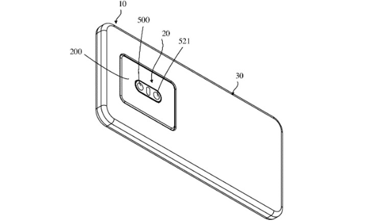
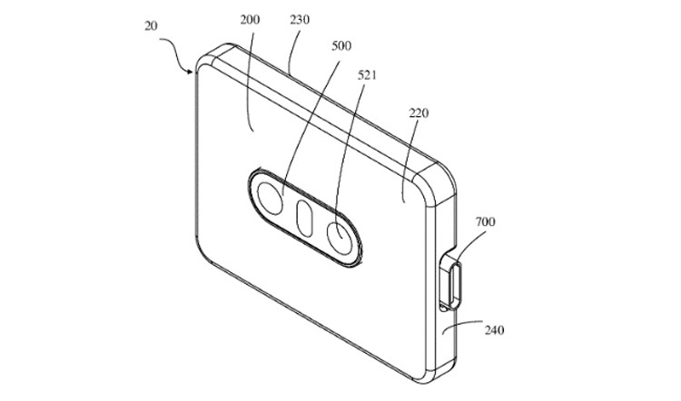
На ілюстраціях показано, що блок містить два оптичних компоненти з датчиками зображень, а також спалах. Зрозуміло, будуть можливі й інші конфігурації – скажімо, з трьома або чотирма сенсорами.

У патенті йдеться, що знімний блок може бути наділений контролерами бездротового зв’язку Wi-Fi та Bluetooth, чіпом NFC і власним акумулятором. Це дозволить використовувати його на віддаленні від смартфона і навіть з іншими пристроями, наприклад, з портативним комп’ютером.

Нарешті, відзначається, що запропоноване конструктивне рішення дозволить власникам застосовувати різні блоки камер. Крім того, модульна конструкція полегшить ремонт в разі виходу камери з ладу – власнику буде досить встановити новий блок.

 
			 
				