
OPPO придумала незвичайний контролер для мобільних ігор та смартфон з приєднуваним екраном
Китайська компанія OPPO, один з найбільших у світі постачальників смартфонів, розмірковує над випуском цікавого маніпулятора, призначеного для мобільних ігор.
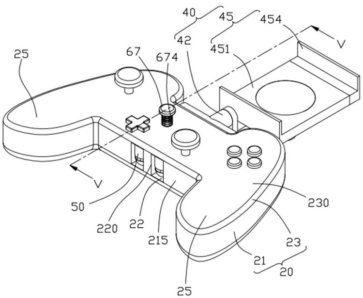
Опис контролера виявлено в патентній документації. Як можна бачити на зображенні нижче, пристрій обладнаний традиційними джойстиками, хрестовиною та набором кнопок.
Головна особливість маніпулятора — два відсіки в нижній частині, які призначені для зберігання повністю бездротових навушників. Вочевидь, перебуваючи всередині контролера, модулі-вкладиші зможуть заряджатися від вбудованого акумулятора.
У верхній частині пристрою передбачений поворотний тримач для встановлення смартфона. Розсувне кріплення дозволить розміщувати апарати різного розміру.

Крім того, виявився патент OPPO на смартфон з приєднуваним допоміжним дисплеєм. За задумом компанії, додатковий повнорозмірний екран буде кріпитися до бічної частини стільникового апарату. В результаті, користувач отримає смартфон-книжку, який зможе замінити планшетний комп’ютер.
Втім, поки OPPO лише запатентувала незвичайні гаджети. Інформації про можливі терміни їх появи на комерційному ринку немає.